

德州银行再次开动房产解决。
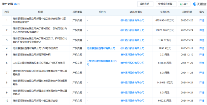
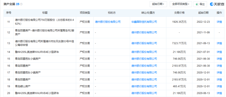
日前,山东产权来回中心分解,德州银行股份有限公司(简称“德州银行”)挂牌出售旗下中信公寓概括楼及1-2层东侧生意房地产,底价约为6753.95万元,挂牌截止手艺为4月22日。结束4月20日,引来1197次围不雅。
记者凝视到,这是该钞票第四次出当今公开转让平台。历史挂牌纪录分解,2021年德州银行初度挂牌该概括楼,底价为7323.77万元;2024年再次挂牌,底价约6692.52万元;2026年本轮挂牌在钞票规模扩大的情况下,价钱仍低于初度挂牌水平。
事实上,比年来,德州银行除了出售房产外,不良债权等钞票也在出售。而在平常出售各式钞票的背后,德州银行正濒临营收下滑、净利润腰斩的景观。据干所有据,2024年,德州银行的信用减值亏蚀跳动4亿元。

多地房产、上亿不良债权被解决
山东产权来回中心分解,德州银行挂牌转让所属中信公寓概括楼及1-2层东侧生意房地产,转让底价为6753.95万元,保证金为2026万元。
该名目对应两项不动产权证,总共建筑面积10416.34平方米,评估基准日为2025年6月30日。公开信息分解,该名目条目举座受让。
据了解,该房产并不是第一次被转让,证据山东产权来回中心,德州银行所属德州市东风东路53号中信公寓概括楼永诀于2021-09-13至2022-01-07、2022-11-16至2023-03-14、2024-10-23至2025-02-18挂牌转让,转让底价永诀为7323.77万元、7328.29万元、6692.52万元。
与第一次转让比拟,这次挂牌转让的底价着落约569.82万元。尽管底价再次下调,值得凝视的是,打包转让的钞票却有所增多。据了解,德州银行前三次转让仅是中信公寓概括楼,建筑面积为9269.42㎡。而第四次挂牌的钞票除了中信公寓概括楼外,还包含1-2层东侧生意房地产,主见房屋建筑面积共计1.04万㎡。且这次钞票转让为举座受让、不行拆分。
其实,除了中信公寓概括楼房产外,德州银行还曾转让其他房产。
山东产权来回中心分解,2021-03-19至2021-04-16,德州银行挂牌转让所属青岛市2套房产,两层独栋,精裝帯院,位于青岛即墨温泉镇府东一说念9号267号,建筑面积为1091.47㎡,套内建筑面积1074.38㎡,转让底价为746.08万元,保证金为200万元。
不仅房产,德州银行还打包出售不良贷款债权等钞票。天眼查分解,德州银行上月批量转让德城支行、武城支行握有的不良贷款债权和陵城区支行、皆河支行握有的不良贷款债权,leyu来回价钱永诀为1.00亿元、1147.07万元。



净利润“腰斩”,2024年不良贷款率成谜
平常出售钞票的背后,德州银行比年来的功绩也不甚理念念。
证据德州银行官网,最新的年报袒露结束2024年,而后未再更新任何财务说明。此外,德州银行条目查阅年报的用户填写姓名、职责单元、手机号,并通过图形考证,竖立了查阅门槛。
数据分解,2024年,德州银行营业收入为13.29亿元,同比着落1.25%,净利润为1.24亿元,同比着落50.99%,营收和净利润双降。
利润腰斩或与其信用减值亏蚀增多关联。数据分解,德州银行的信用减值亏蚀从2023年的2.31亿元骤增至4.36亿元,增幅高达88.74%。
信用减值亏蚀增多或与背后不良贷款累计关联。特理由的是,德州银行在2023年还袒露不良贷款率、拨备掩盖率、不良贷款余额、过期贷款等数据,2023年的不良贷款率为2.44%。
然则到了2024年,这些关节数据却不再公开,仅能检察不良贷款的行业散播。证据财报,2024年,在德州银行的不良贷款中,制造业占比高达45.83%,批发和零卖业占比20.64%,两者总共占全部不良贷款的三分之二以上。
董事长岗亭空白近20个月,因违法屡次被罚
除了绸缪承压以外,德州银行比年的治理与合规风险也破碎淡薄。
当作国有控股企业,德州银行曾一度出现董事长职位空白的情况。2023年,德州银行前董事长牛洪春卸任,行长赵鸣翠代为履行董事长职责长达近20个月。直到2025年7月,亓金波才负责任命为德州银行的党委布告,同庚8月,负责获批董事长任职履历。
因代履职严重超期,该行被罚金50万元。2024年11月,国度金融监督管制总局山东监管局发布行政处罚决定书,德州银行因存在代为履职东说念主员超期履职,严重违背审慎绸缪划定的主要作歹事实,被罚金50万元。
实质上,德州银行比年屡次因内控及绸缪问题被处罚。
2025年5月26日,证监会山东监管局官网公示,德州银行因存在四种作歹违法行为被山东监管局责令改正。存在的主要问题包括:部分未得到基金从业履历的东说念主员从事基金销售行为,负责对基金销售业务绸缪运作情况进行审查、监督和搜检的合规风控东说念主员未得到基金从业履历,未竖立基金居品准入委员会或专门小组对销售居品准入本质蚁合调解管制,未将基金销售保有规模、投资东说念主长期投资收益等纳入分支机构和基金销售东说念主员捕快评价方针体系。
2023年,中国银行保障监督管制委员会山东监管局官方网站公开一则行政处罚信息,德州银行严重违背审慎绸缪划定,被罚金195万元。
leyu体育

